| 螺杆泵(bèng)結構圖 |
| 發布(bu)時間:2017-7-16 15:44:16 點擊次(ci)數: |
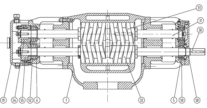
很多客戶(hù)在使用螺杆(gan)泵的過程中(zhong),由于使用時(shi)間太長或者(zhě)誤操作,造成(chéng)某個部件的(de)損害,但在購(gòu)買🔞配件過程(chéng)中,不了解泵(beng)的結果或者(zhe)不知道部件(jian)的名稱,造成(cheng)客戶🈚和商家(jia)溝通不暢,為(wei)方便客戶購(gou)買配件,特将(jiang)單螺杆泵,雙(shuāng)螺杆泵和三(san)螺杆泵的結(jié)構⭐圖發布到(dao)網☎️站上,供客(kè)戶參考. 一、單(dan)螺杆泵: ![]() 1.傳動軸 2.軸承(cheng)壓蓋 3.單列軸(zhou)承 4.托架 5.雙列(liè)軸承 6.機械密(mì)封 7.密👣封腔室(shi) 8.萬向節 9.連接(jie)軸 10.吸入管 11.螺(luó)杆 12.襯套 13.壓出(chu)管 二、雙螺杆(gan)泵 1.泵體(tǐ) 5.前軸承座 6.後(hou)軸承座 19.齒輪(lun)箱 30.主動軸 31.從(cóng)動軸 32.螺旋套(tao)(左/右) 33.螺旋套(tao)(左/右)50.雙列 三(sān)、三螺杆泵 ![]() 1.泵體 2.襯套(tào) 3.前蓋 4.後蓋 5.填(tián)料箱 6.泵底腳(jiao) 7.蓋闆 8.平衡套(tao) 9.支撐墊 10.潤滑(hua)💚環 11.間隔套 12.主(zhu)動螺杆 13.從動(dong)螺杆 14.擋圈 15.機(ji)械密封 16.軸承(chéng)蓋 17.孔用擋圈(quan) 18.軸承 19.軸用擋(dǎng)圈 |
客戶服(fú)務
| 地址: | 河(he)北省泊頭二级🔞生活片㊙️市(shì)道東街88号 |
| 電(dian)話: | 0317-8185077 |
| 0317-8263980 | |
| 0317-8223128 | |
| 傳真: | 0317-8265584 |
| E-mail: | [email protected] |


1.泵體(tǐ) 5.前軸承座 6.後(hou)軸承座 19.齒輪(lun)箱 30.主動軸 31.從(cóng)動軸 32.螺旋套(tao)(左/右) 33.螺旋套(tao)(左/右).jpg)